Views:0 Pengarang:Editor tapak Masa Terbitkan: 2026-02-28 Asal:Tapak
Fungsi Acuan Silinder Mesin Kertas
Acuan silinder adalah komponen utama di mana web kertas terbentuk dalam mesin kertas silinder. Memerlukannya untuk menapis air secara sekata dan tidak menghasilkan pergolakan yang berlebihan dalam tangki mesh semasa putaran. Acuan silinder harus mempunyai ketegaran yang mencukupi dan dimensi geometri yang tepat, dan harus dipasang secara mendatar.
Acuan silinder dibahagikan kepada: biasa, jenis cip, sedutan, dan acuan silinder vakum mengikut strukturnya; Dibahagikan dengan bahan: biasa, semua tembaga, acuan silinder keluli tahan karat.
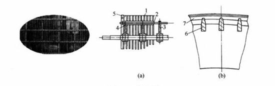
Gambar di bawah ialah gambar rajah skema struktur acuan silinder biasa.

Peranti tulang rusuk sokongan tembaga yang dipanggil jejari dipasang pada aci besi tuang, dengan jarak jejari 100-150mm. Jejari menyokong rim roda tengah dan dikelilingi oleh alur. Alur dilengkapi dengan bar mendatar yang sama panjang dengan acuan silinder. Diameter bar mendatar adalah kira-kira 1cm, dengan jarak pusat ke pusat kira-kira 4cm, selari dengan paksi pusat. Bar mendatar diperbuat daripada keluli atau loyang, dan keratan rentasnya boleh berbentuk bulat atau segi empat tepat. Dua roda paling luar dilemparkan dengan gelang yang menonjol untuk membentuk meterai dengan bahagian alur mesh yang sepadan, mengasingkan bahagian dalam dan luar acuan silinder. Pengilangan alur kecil bergerigi pada bar mendatar mengikut garis lingkaran, menggulung wayar logam berterusan dengan diameter kira-kira 3mm dalam bentuk lingkaran di sekeliling acuan silinder untuk membentuk bingkai silinder mesh berbentuk silinder. Jurang antara wayar logam bersebelahan adalah kira-kira 1cm. Akhir sekali, tutup wayar kuprum dengan lapisan loyang atau keluli tahan karat yang lebih tebal, dan kemudian tutupnya dengan jaringan nipis yang digunakan untuk pembuatan kertas. Kedua-dua mesh dalam dan mesh permukaan adalah mesh hujung, yang diketatkan pada bingkai acuan silinder dengan alat khas dan disambungkan dengan kimpalan perak atau kimpalan elektrik. Perhimpunan akhir mestilah sangat bulat dan sepusat dengan paksi pusat, dengan ketegaran yang mencukupi untuk menahan tekanan penggelek tanpa ubah bentuk. Julat diameter acuan silinder standard adalah kira-kira 1-1.5m, dan spesifikasi yang biasa digunakan ialah 1.2m.
Peranti galas acuan silinder terletak di luar alur mesh. Kedua-dua hujung acuan silinder disambungkan ke kotak sisi slot mesh. Selepas pulpa disambungkan ke grid, air putih yang ditapis ke dalam acuan silinder melalui jaringan tembaga memasuki kotak sisi dari kedua-dua hujung acuan silinder, dan kemudian dipam keluar oleh pam air putih untuk dikitar semula.

Mesh dalaman acuan silinder biasanya 8-16 mesh, terutamanya digunakan untuk menyebarkan tekanan penggelek dan mengekalkan mesh permukaan rata. Mesh agak padat dan digunakan untuk menapis gentian untuk membentuk web kertas, biasanya antara 40-100 mesh. Pemilihan saiz mesh terutamanya bergantung pada kepelbagaian kertas yang dihasilkan, dan saiz mesh yang paling biasa digunakan untuk menghasilkan kertas budaya am ialah 65 mesh.
Rajah berikut menunjukkan bentuk struktur acuan silinder jenis cip. Acuan silinder jenis cip merujuk kepada menukar cakera luar acuan silinder biasa daripada dawai kuprum dengan diameter 3mm kepada plat keluli tahan karat dengan keratan rentas segi empat tepat. Ciri-ciri utamanya ialah: meningkatkan kawasan dan kelajuan penapisan, dan meningkatkan pengeluaran; Meningkatkan kualiti kertas, termasuk keseragaman, berat, nisbah aspek, dan mengurangkan penggunaan dan kos penyelenggaraan mesh tembaga, felt dan bahan lain; Memperkukuh integriti keseluruhan dan prestasi anti-karat peralatan, dengan kekuatan tinggi, ketegaran yang baik, dan ketahanan. Terdapat tiga jenis acuan silinder yang telah dibangunkan dan dihasilkan: cip melepasi, cip penggulungan, dan cip condong.
![]() | ![]() |